Муфта універсальна фланцева
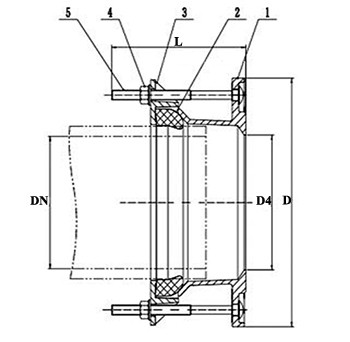
Муфта універсальна фланцева дозволяє приєднати гладку трубу любого виду: сталевих, пластикових, чавуних, азбоцементних та інших до стандартного фланцю запірної арматури або іншої труби. Ущільнення створює масивна гумова манжета, яка зтискається в конусі корпуса, при затягуванні чотирьох гаєк. Це дозволяє швидко і просто приєднати нову трубу к наявній або встановити засувку в любому місці трубопроводу.
Важлива особливість універсальних фланцевих муфт – можливість з'єднання труб в ДІАПАЗОНІ розмірів. Наприклад, за допомогою муфти DN 80 можна встановити чавунну фланцеву засувку на ПЕ і ПВХ трубі Ø 90мм, і на сталевій трубі Ø 89 мм і на сталевій трубі Ø 102 мм. Конічна частина корпуса, кришка і манжети фланцевої муфти такі самі, як у з'єднувальної муфти того ж розміру.
Приєднувальні розміри фланцевої сторони муфти відповідають ГОСТ 12815 для тиску 1,6 / 1,0 МПа (PN16 / PN10). Завдяки спеціальній формі отворів муфту DN-200 (наприклад) легко з'єднати не тільки зі стандартним фланцем PN16 (12 болтів через 30°), але і зі стандартним фланцем PN10 (8 болтів через 45°).
Порошкове покриття надовго зберігає гарний зовнішній вигляд муфти. Оцинковані стяжні гвинти муфти мають прямокутну голівку, яка утримує їх від прокручування, кінець різьби захищен пластиковим ковпачком.
|
|
![]() |
Матеріали:
|
| Номін. розмір муфти (DN), мм |
Допустимий діаметр труби «від – до», мм |
Стяжні гвинти |
Габарити муфти | Приєднуючі розміри фланця | |||
| описаний діаметр (D), мм | довжина по гвинтам (L), мм |
Розболтовка (діаметр), мм |
Розболтовка кіл-ть отворів |
Центральний отвір (D4), мм |
|||
| 100 | 108 – 128 | М12 = 4 | 220 | 135 | Ø 180 | 8 под М16 | Ø 135 |
| 125 | 132 – 146 | 255 | Ø 210 | 8 під М16 | Ø 150 | ||
| 125* | 125 - 153 | 260 | Ø 210 | 8 під М16 | Ø 125 | ||
| 150 | 158 – 181 | 290 | Ø 240 | 8 під М20 | Ø 188 | ||
| 150* | 144 - 172 | 295 | Ø 240 | 8 під М20 | Ø 145 | ||
| 200 | 218 – 235 | 345 | Ø 295 | 12 під М20 | Ø 240 | ||
125* - муфта с кодом УТ000005658
150* - муфта с кодом УТ000005659
-
УТ800003031
-
УТ000005651
-
УТ800005712
-
УТ800005676
-
УТ800003032
-
УТ800002418
-
УТ800005713
-
УТ800002419
-
УТ000005658
-
УТ800002420
-
УТ000005661
-
УТ000005659
-
УТ800005714
-
УТ800002421
-
УТ800005715
-
УТ800005716








